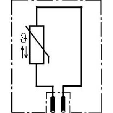
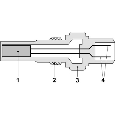
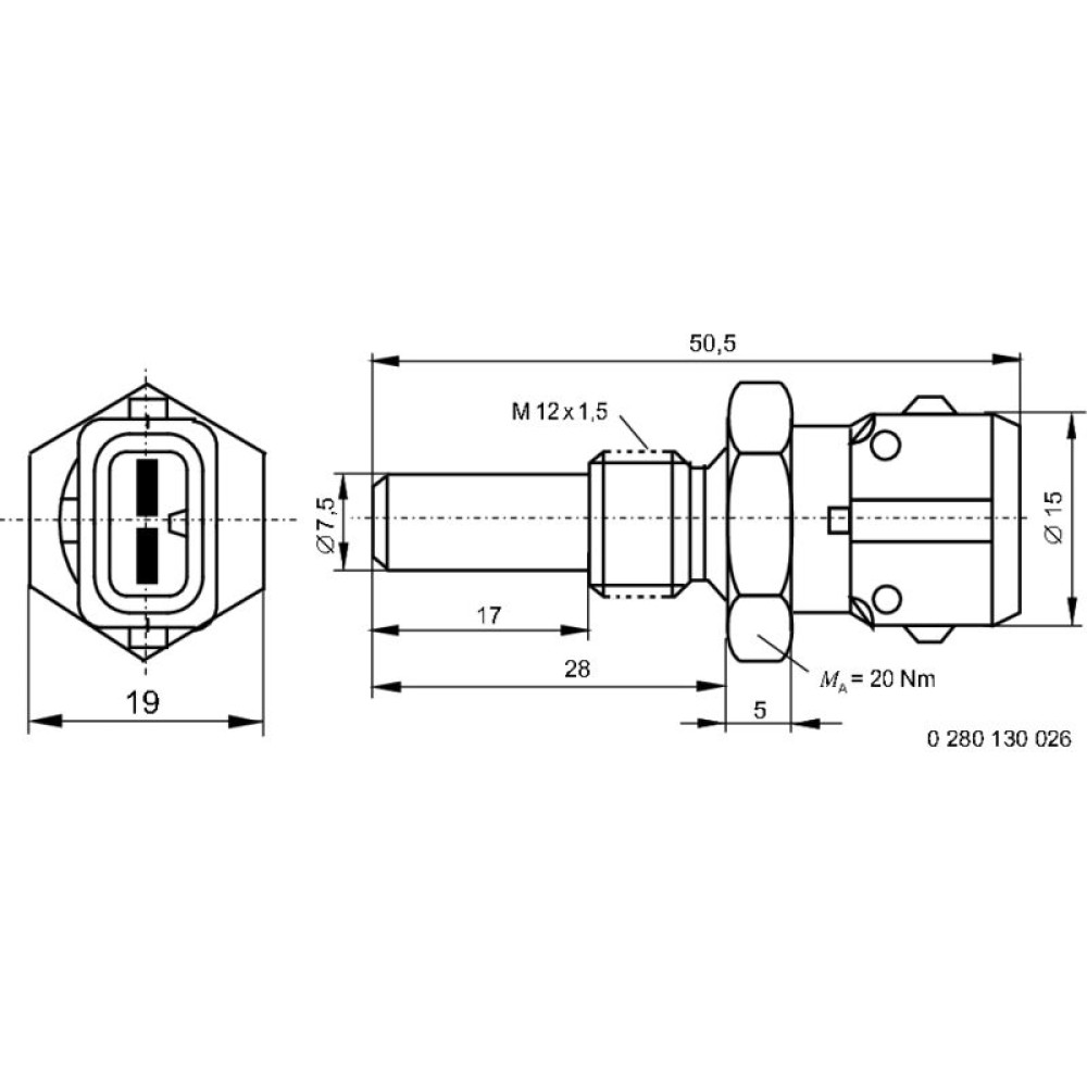
0 280 130 026 Sensor, Kühlmitteltemperatur











Bitte Fahrzeugverwendung beachten! Einschränkungen einsehen.
Fragen zum Artikel?
Hotline: +49 711 21951190
WhatsApp-Nummer: +49 174 1949813
0 280 130 026 Sensor, Kühlmitteltemperatur
| Hersteller | BOSCH |
| Hersteller-Nr. | 0 280 130 026 |
| Moto100-Nr. | 10276121 |
| für Motorcode | 021 A 2000, 10 P, 12 L, 135B, 136B, 138 C2.048, 14 L, 14 P, 146 A 5.046, 146 A 8.011<Turbo>, 146 A2.246, 149 C1.000, 149 C2.000, 15 P, 154 C3.000<M1>, 154 C3.000<M7>, 154 C3.046, 154 C4.046, 156 A2.246, 159 A3.046, 159 A3.048, 159 A6.011<M5>, 159 A6.046, 160 A1.046, 17 L, 176 A3.000, 176 B2.000, 176 B4.000, 18 4E W<M 10 B 18>, 18 4K A, 183 A1.000, 20 6E B<M 20 B 20>, 21 L, 25 E CIH, 30 E CIH, 30 EL A<M 30 B 30>, 34 6E A<M 30 B 35..>, 34 6E C<M 30 B 35..>, 34 6K A<M 30 B 35>, 35 6E E<S 38 B 35>, 4G61, 781.136I50, 8140.47R, 8144.97 Y, 828 CB 1 A.., 830 A.000, 834 A4.000<M3>, 834 B.146, 835 C1.000, 835 C4.000, 836 A4.000, 836 A5.000, 836 A6.000<M8>, 838 A2.000, 838 A3.000, 838 A7.000, 838B2.000 MPI-RB<M5>, 838B2.000<M8>, AEE, AEF, AMH, AR 01590, AR 01646, AR 01655, AR 01713, AR 01911, AR 06166, AR 06168, AR 06416, AR 10520, AR 16101, AR 16105, AR 16199<M3>, AR 16201, AR 30558, AR 30736, AR 30747<M8>, AR 30753, AR 30755, AR 32103, AR 32104, AR 32310, AR 33201, AR 33503, AR 61201<M6>, AR 64301, AR 64305, AR 64307, AR 67106, AR 67199, AR 67201, AR 67202, AR 67204, AR 67299<M5>, AR 67299<M7>, AR 67601, AR30747<M9>, B 200 F, B 202 I, B 202 L, B202I, B202L, B202S, B21F-LH, CDY (TU9M), CE, D6A<XU9JA>, DFZ<XU9J1 Kat.>, F 105 L.046<M12>, F 110 HB, F 116 B 00, F 119 D, F 119 DL, F 119 F 000, F 133, G4EH, G4EK, G4GM, G4GR, H 25 E, HDZ (TU1M), J7T 706, J7T 707, J7T 714, KDX (TU3M/Z), KDX (TU3MC), KDX<TU3FMC>, KDY (TU3M), KDZ (TU3M), KFX (TU3JP), M 40 B 16, M 44.50, M 44.51, M10 B18 (184EB), M10 B18 (184KA), M10 B18 (184VD), M20 B20 (206EB), M20 B20 (206EC), M20 B20 (206EZ), M20 B25 (256E1), M20 B25 (256E2), M20 B25 (256K1), M25-662, M30 B30, M30 B34 (346KA), M30 B35 (346EC), M43 B18 (184E2), M50 B20 (206S1), M50 B20 (206S2), M50 B25 (256S1), M50 B25 (256S2), M60 B30 (308S1), N5F, S 25 E CIH, S 25 H CIH, S 30 E CIH, S38 B35 (356ED) |
Gebrauchsnummern
| Gebrauchsnummer |
|---|
| TF-W |
OE-Nummern
Diese Liste entspricht den Original-Ersatzteilnummern (OE-Nummern) der Fahrzeughersteller.
| Fahrzeughersteller | OE-Nummer |
|---|---|
| ALFA ROMEO | 0000060523383 |
| ALFA ROMEO | 119111101000 |
| ALFA ROMEO | 195321101000 |
| ALFA ROMEO | 5972332 |
| ALFA ROMEO | 60513205 |
| ALFA ROMEO | 605132050 |
| ALFA ROMEO | 60523383 |
| ALFA ROMEO | 605233830 |
| AUTOBIANCHI | 5972332 |
| BMW | 13 62 1 284 397 |
| BMW | 13 62 1 357 414 |
| BMW | 13 62 1 401 945 |
| BMW | 13 62 1 709 966 |
| BMW | 13 62 1 709 967 |
| CHEVROLET | 90 080 939 |
| CITROËN | 0242 46 |
| CITROËN | 5502644 |
| CITROËN | 91 040 370 |
| CITROËN | 91 414 549 |
| FERRARI | 125769 |
| FERRARI | 172750 |
| FIAT | 0000004393601 |
| FIAT | 0046125769 |
| FIAT | 0060513205 |
| FIAT | 0060800167 |
| FIAT | 0060808142 |
| FIAT | 4393601 |
| FIAT | 46125769 |
| FIAT | 46477022 |
| FIAT | 5972332 |
| FIAT | 60513205 |
| FIAT | 60523383 |
| FIAT | 60800167 |
| FIAT | 60808142 |
| FIAT | 7547977 |
| FIAT | K0046125769 |
| FIAT | K0060513205 |
| FIAT | K0060800167 |
| FIAT | K0060808142 |
| FSO | 94720065561 |
| GMC | 30523666 |
| HOLDEN | 92 017 805 |
| HONDA | 37870-P5T-G00 |
| HYUNDAI | 39220 22000 |
| HYUNDAI | 39220 22010 |
| INNOCENTI | 5972332 |
| IVECO | 0000098424793 |
| IVECO | 4393601 |
| IVECO | 5972332 |
| IVECO | 98424793 |
| JAGUAR | UKC2525 |
| KIA | 0K737 18840 |
| LANCIA | 125769 |
| LANCIA | 4393601 |
| LANCIA | 46477022 |
| LANCIA | 5972332 |
| LANCIA | 60523383 |
| LAND ROVER | ERR2081 |
| LINDE | 7917415511 |
| MITSUBISHI | AW311467 |
| NISSAN | 92017805 |
| OPEL | 08983631 |
| OPEL | 13 38 443 |
| OPEL | 13 38 444 |
| OPEL | 90018835 |
| OPEL | 90080939 |
| PEUGEOT | 0242 46 |
| PEUGEOT | 5502644 |
| PEUGEOT | 91 040 370 |
| PEUGEOT | 91 414 549 |
| PORSCHE | 928 606 125 01 |
| PORSCHE | 944 606 125 00 |
| PORSCHE | 9966062239A |
| RENAULT | 77 00 267 388 |
| RENAULT | 77 00 582 688 |
| ROLLS-ROYCE | UE71610 |
| ROVER | ERR 2081 |
| SAAB | 09357021 |
| SAAB | 935702 |
| SAAB | 93 57 021 |
| SKODA | 6U0919501 |
| TALBOT | 91 414 549 80 |
| TALBOT | 91 514 549 80 |
| TALBOT | A 514 549 80 |
| VOLVO | 1306937 |
| VOLVO | 13069370 |
| VOLVO | 1332396 |
| VOLVO | 13323960 |
| VW | 000 395 264 0 |
| VW | 025906041 |
| VW | 026 906 161 12 |
| VW | 6U0919501 |
| VW | X 039 526 40 |
Vergleichsnummern
Diese Liste entspricht den Artikelnummern (Vergleichsnummern) der Hersteller.
| Hersteller | Artikelnummer |
|---|---|
| Blue Print | ADJ137203 |
| BOSCH | 0 280 130 023 |
| BOSCH | 0 280 130 026 |
| BOSCH | 0 280 130 055 |
| Delphi | TS10227-12B1 |
| Delphi | TS10250 |
| DT Spare Parts | 7.60503 |
| febi bilstein | 17695 |
| Hella | 6PT 009 107-361 |
| Hella | 6PT 009 309-291 |
| Herth+Buss Elparts | 70511038 |
| Herth+Buss Elparts | 70511110 |
| JP Group | 1193102200 |
| JP Group | 1293101100 |
| Lucas | SNB809 |
| Lucas | SNB809SS |
| Lucas | SNB812 |
| Lucas | SNB942 |
| Magneti Marelli | 171916011040 |
| Magneti Marelli | 171916011310 |
| Magneti Marelli | 171916011370 |
| Magneti Marelli | 171925011030 |
| Magneti Marelli | 215810021003 |
| Mahle | TSE 12 |
| Maxgear | 21-0124 |
| Meat & Doria | 82026 |
| Meat & Doria | 82033 |
| Meat & Doria | 82041 |
| Metzger | 0905025 |
| Metzger | 0905031 |
| Metzger | 0905175 |
| Meyle | 214 821 0007 |
| Meyle | 314 136 2102 |
| Meyle | 36-14 821 0002 |
| Nissens | 207076 |
| NRF | 727011 |
| NRF | 727034 |
| NRF | 727117 |
| NTN-SNR | CTS158.03 |
| NTN-SNR | CTS159.03 |
| SAMPA | 096.3710 |
| Sasic | 3250008 |
| Sasic | 3250015 |
| SWAG | 40 91 7695 |
| Topran | 202 328 |
| Topran | 500 516 |
| Triscan | 8626 10013 |
| Triscan | 8626 10014 |
| Triscan | 8626 10016 |
| Trucktec Automotive | 08.40.041 |
| Trucktec Automotive | 08.40.042 |
| Valeo | 700019 |
| Valeo | 700021 |
| Vemo | V20-72-0443 |
| Vemo | V20-72-0454 |
| Vemo | V24-72-0053 |
| Vemo | V40-72-0322 |
| Vemo | V40-72-0329 |
Wir unterstützen Sie bei Ihrer Bestellung
Sie haben Fragen zu einem Artikel oder zu Ihrer Bestellung? Unser Team hilft Ihnen gerne weiter – schnell und unkompliziert.
Beratung per WhatsApp & E-Mail
Für Produktauswahl und technische Fragen erreichen Sie uns am besten per WhatsApp oder E-Mail.
WhatsApp: +49 174 1949813
E-Mail: info@moto100.de
Telefonischer Support
Telefonisch unterstützen wir Sie bei Fragen zu bestehenden Bestellungen.
Montag bis Freitag von 8:00 bis 16:00 Uhr
Wir kümmern uns schnellstmöglich um Ihr Anliegen.









